射频导纳料位开关的型号及尺寸图
射频导纳料位开关是目前工业现场常用的料位检测控制器。其工作原理是通过探头感知其与储罐体间电抗(容抗和阻抗)的变化并将这一变
化送至电子模块从而实现物位测量和控制的。射频导纳料位开关的型号是根据工况需求而设计的,因此用户在选型时,应注意其型号及尺寸是否
符合实际安装环境和使用要求,本文将对射频导纳料位开关的型号及尺寸图进行介绍。
通用型射频导纳料位开关
Cape-11A通用型射频导纳料位开关的应用范围广泛,主要适用于测量粉尘、煤灰等固体颗粒的料位,其探棒不易受物料粘附的影响,具有
较强的通用性。计为Cape-11A通用型射频导纳料位开关的具体尺寸图如下图所示:

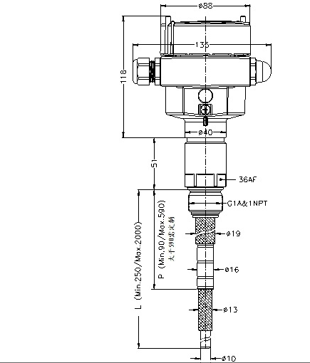
Cape-11A通用型射频导纳料位开关尺寸图
Cape-11A通用型射频导纳料位开关的上盖尺寸为φ88;表头***宽的距离尺寸为135mm,高度为135mm;保护极直径为φ19,***小尺寸为
90mm,可延长至590mm,长于590mm则需根据现场工况定制;探头可选择φ8mm或者φ10mm的直径,其长度***小为250mm。对于射频导
纳料位开关的探头长度选择,需注意的是,由于射频导纳料位开关是点位接触性测量,因此在安装位置确定的情况下,需要根据罐体的情况选择
合适的插入深度及保护极长度。而插入深度一般以探头能完全接触到物料为宜,所以建议对于保护极长度须***深入料仓内部50mm以上。

