一次表和二次表中都有小信号切除功能,如何正确应用?
生产明明已停机,流量计却仍显示微小读数?仪表零点漂移带来的“无中生有”,不仅影响数据准确性,还可能触发误报警、干扰控制系统。小信号切除功能,正是为解决这一痛点,但用不对,反而可能引发新问题。不同系统配置中如何正确设置,让信号既不被“误判”,也不被“误切”?
流量小信号切除的目的是解决仪表零点漂移引起的“无中生有’这一不足,而且在应用这一功能时,不能产生新的矛盾。
在流量转换器中有小信号切除功能,流量二次表中也有小信号切除功能,正确应用这两个资源就能达此目的。
不配二次表的系统:有的流量计不配二次表,或者只通过其数字通信口将测量结果、故障诊断信息传送到计算机,这时,只需在转换器内设置小信号切除。
配二次表的系统:配二次表的系统分两种情况。
第一种是转换器利用模拟信号将流量测量结果传送到二次表,这时,如果二次表完全没有小信号切除,在实际流量为零时,尽管转换器中的小信号切除功能能够使其名义值为零,但是由于模拟运算环节总是存在一定的漂移,于是此信号经转换器中的 D/A转换和二次表中的 A/D转换这些模拟运算环节,二次表中的流量显示值就有可能不为零。所以,除了转换器中设置小信号切除之外,二次表中也得设置小信号切除,二次表中的切除值不能大于转换器中的切除值。
第二种情况是转换器利用频率信号将测量结果传送到二次表,由于与这种传送有关的运算环节都是数字量运算,不存在零漂,所以二次表中一般不设置小信号切除。
上面所说的二次表包括流量二次表、流量批量控制器以及DCS、PLC等。
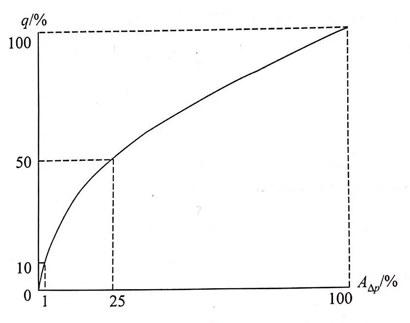
在温度、压力、流量、液位四大参数的测量中,设置小信号切除的***有流量计。 流量仪表小信号切除的目的,总的来说是解决“无中生有”的矛盾。但是,各种不同理的流量计,切除的意义和切除值的合理确定,也有很大区别和差异。 差压式流量计是投入工业应用的多种流量计中应用***广泛、历史***悠久的一种流量计也是人们应用小信号切除技术***早的一种流量计。 在早期的差压式流量计中,人们用U形管差压计显示差压装置送出的差压信号并换算到瞬时流量,用浮子式差压计、环秤式差压计显示瞬时流量并进行积算。由于技术条件的限制,无法应用小信号切除技术,只能用经常查对零点并在发现零点漂移时予以校正的方法消除零漂的影响。 自从电子技术进入差压式流量计后,模拟量运算电路和逻辑运算技术得到迅速发展,才使小信号切除有了技术基础。 小信号切除方法在差压式流量计中尤其重要,是由差压式流量计的输入输出关系式中的平方根特性决定的。在差压式流量计中有下面的关系式与此式相对应的图如图所示: 图 流量与差压的关系 从上图可看出,在流量接近0的时候,曲线的斜率近似无穷大,这就决定了流量零点示值的不稳定性。早期的差压计为1.5级准确度,即在一段时间内,差压示值零点漂移±1.5%也算正常,这样的漂移所对应的流量值就很大了。为了自圆其说,仪表制造厂就规定流量示值在30%以下不计误差,这就是以前仪表工程师和早期流量仪表书刊中所说的差压式流量计量程比(范围度)为3:1的由来。 当电动单元组合仪表发展到DDZ-Ⅱ系列后,差压变送器准确度等级提高到0.5级,仪表制造厂推荐将小信号切除点调整到差压上限的1%,对应的流量值为10%FS。 当差压变送器准确度进一步提高到0.2级时,差压变送器的零点漂移性能得到进一步改善,但是,差压变送器零漂仅仅是差压式流量计零漂的一个方面,差压法流量测量是一个系统,除了差压变送器零漂之外,还有差压信号的传递失真和流量演算器等也都会引入零漂,综合多方面的因素,世界上很多仪表制造厂都将差压切除点减小为0.75%,对应的流量值为8.7%。仪表制造技术还在不断改进,现在的差压变送器已经提高到0.055级和0.04级。差压信号传递也有了改进,由于采用一体化结构,差压信号传递失真可做到忽略不计,所以对于中低差压变送器组成的一体化节流式流量计,小信号切除值降到 2%qmax,系统仍能很好地工作,不会出现“无中生有”现象。 为什么热衷于将小信号切除点一降再降?这是因为小信号切除既有得又有失。得到的是掩盖了各种原因引起的流量显示值的零点漂移,从而消除烦人的“无中生有”现象;失去的是当实际流量低于切除点时,一概显示为零,从而引起使用者的不满。因此,仪表制造厂和系统调试人员在确保不出现“无中生有”的前提下,总是尽量降低小信号切除点,而仪表制造技术的改进,也为这一做法提供了物质基础,所以随着差压变送器准确度、稳定性的提高,随着仪表结构的改进,小信号切除点也越来越小。 其他原理的流量计,除了容积式流量计之外,一般均需设置小信号切除,放弃切除点以下流量的测量,这完全是不得已而为之。



