气动执行机构怎么选?从侧装增力到精小型,常见结构优缺点全解析!
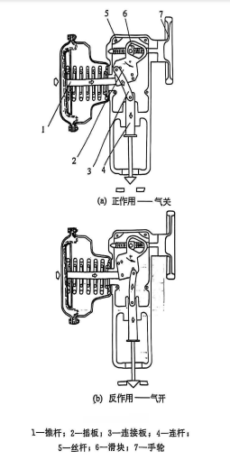
气动侧装式执行机构也叫增力型执行机构,从国外刚引进时也称为∑F执行机构。它由传统的顶置改为侧装,其结构如图所示。
其优点是:
①薄膜气室装于支架侧面,通过杠杆传动把力矩放大,输出力增大3~5倍,所以也叫增力型执行机构;
②正反作用变换方便,只需改变连接销的位置即可。
如图所示,打开面板及后盖,把摇板2与连接板3之间的连接销,插入摇板中与原孔对称的另一边的孔中,并把连接板反装,其他零件不必改变,就可实现正、反作用变换。
实现行程变换也很容易,只需把连接销插入摇板中与原孔同一侧的另一孔中即可。
2、什么是精小型气动执行机构?它有何特点?
精小型气动执行机构也称为轻型执行机构、多弹簧执行机构。它具有重量轻、高度小、结构紧凑、装校简便、动作可靠、输出力大、节约能源等特点。装上阀门后,与传统的气动调节阀相比,高度降低30%,重量减轻30%,流通能力却增加了30%,可调范围扩大到50:1。 如图所示,与传统气动薄膜执行机构相比,它的压缩弹簧采用多根组合形式,代替传统结构的一根大弹簧,弹簧数量可为4、6或8根小弹簧,从而降低了高度和重量;膜片是较深的盆形,采用丁腈橡胶作为涂层来增强涤纶织物的强度,保证密封性,可在-40~85℃使用;推杆的导向面经过精密加工,提高硬度,降低粗糙度,达到减小回差和增强密封性的效果。 这种执行机构目前已有正、反作用、真行程、角行程等多种形式。 3、什么是双重弹簧气动执行机构? 如图所示,其结构特点是使用双重式加强弹簧,把大弹簧套在小弹簧外面,两个弹簧高度相同,刚度不同,但总刚度是两个弹簧高度之和。这样,就降低了执行机构总高度,使结构更紧凑。
4、什么是双层膜头执行机构?它有何特点?
如图所示,它有两个膜头,有两个协同动作的膜片,接受同样的气压信号,产生的合力推动阀杆动作。它适用于高压差或大口径调节阀,具有很大的输出力,可达30000~60000N,其结构又比较紧凑。
5、试述角行程活塞执行机构的类型和特点? 角行程活塞执行机构主要用于角行程调节阀——蝶阀、球阀、偏心旋转阀等。按汽缸的安装方向,分为立式汽缸和卧式汽缸两种。按结构主要有曲柄连杆式、齿轮齿条式两种。 立式曲柄连杆活塞执行机构如图所示,现在许多场合的偏心旋转阀、球阀还在大量使用,但其存在如下缺点: ①曲柄连杆转动为滑动摩擦,不仅间隙大,而且摩擦力特别大,造成执行机构的回差大、动作不灵敏,常常使有效输出力矩损失约30%左右; ②尺寸大、笨重。显然,应该用更小型的、更可靠的活塞执行机构去取代它。 卧式齿轮齿条活塞执行机构如图所示,它有如下特点: ①齿轮齿条传动方式比曲柄连杆的摩擦力小得多,同口径可提有效率20%; ②齿轮齿条转动均匀,转动间隙小,因此运动自如、回差小; ③很容易设计成双活塞式,使其输出力矩提高一倍;反过来,当输出力矩一定时,就可获得更小尺寸的执行机构,使重量和尺寸得到大幅度的减小; ④非常容易实现与阀直接相连,从而简化了阀的连接方式,并使所配阀的外形更加匀称、美观,且小型化。 实践证明,这种角行程活塞执行机构使用越来越广泛,并将成为角行程活塞执行机构的主流。



